研究生院

办事指南

研究生管理信息系统导师审核操作手册

发布人:发布日期:2020-11-02浏览次数:

研究生管理信息系统导师审核操作手册

 

1.导师线上审核事项

1.1待办事宜:研究生管理信息系统中,共有6项主要工作需要导师线上审核,该6项工作全部显示在登录界面首页的“待办事宜”中,如下图所示,其中的数字代表待审核学生人数。

 

1.2.进入待办事宜操作方式:

1)点击待审核事项图标后,系统会自动跳转到对应功能的审核页面。

 

2)审核过程中,点击页面左侧第一个菜单“首页”,可以返回至首页,即上述“待办事宜”页面。

 

 


2.导师线上审核操作流程

2.1培养计划审核:批量审核和单个学生审核。

1进入培养计划审核页面:学生提交培养计划后,导师登录管理信息系统,在首页“待办事宜”中,点击“培养计划”。

 

2批量审核:勾选需批量审核的学生,然后点“审核通过”即可。

注:导师可以先点击学生记录最右端的“审核”按钮,查看学生培养计划。

 

3单个学生审核:点击学生记录最右端的“审核”按钮,在后续页面进行操作。

 

 

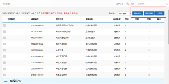
2.2开题审核

1进入开题审核页面:学生提交开题申请后,导师登录管理信息系统,在首页“待办事宜”中,点击“开题申请”。

 

2审核方式:分批量审核和单个学生审核,审核操作同2.1培养计划审核,审核界面如下:

 

 

2.3论文预审审核:

1)进入论文预审审核页面:学生提交论文预审申请后,导师登录管理信息系统,在首页“待办事宜”中,点击“论文预审”。

 

2审核方式: 勾选需批量审核的学生,然后点“审核通过”即可。

注:导师可以先点击学生记录最右端的“查看”按钮,查看学生预审申请。

 

 

2.4盲审论文审核:

1)进入盲审论文审核页面:学生上传送审论文后,导师登录管理信息系统,在首页“待办事宜”中,点击“盲审论文”,进入审核界面,审核学生论文、自评表(博士),填写学术评语。

 

2审核论文、自评表:点击“下载”后,可以查看下载的学生论文,如果同意送审,则在学号前的方框中点击勾选,在“批量审核”中选择“导师审核”,然后点击“审核通过”即可。

 

2填写学术评语:在单个学生论文记录后面点击“填写”,填写完毕后点击“保存”,请注意随时保存(系统半分钟自动保存一次)。

 

 

 

2.5终版论文审核。

1)进入终版论文审核页面:

学生在上传终版论文后,导师登录管理信息系统,在首页“待办事宜”中,点击“终版论文”,进入审核界面。

 

2)审核终版论文:

进入审核界面后,点击“下载”,可以查看下载的学生论文,如果同意定稿,则在学号前的方框中点击勾选,在“审核状态”中选择“导师审核”,然后点击“审核通过”即可。

 

 

2.6学业奖学金审核:

1进入学业奖学金审核页面:学生提交学业奖学金申请后,导师登录管理信息系统,在首页“待办事宜”中,点击“学业奖学金”。

 

2审核方式:分批量审核和单个学生审核,审核操作同2.1培养计划审核,审核界面如下:

 

 


3.撤销审核操作流程

3.1培养计划撤销审核:

分两种方式,批量撤销审核和单个学生撤销审核。

1进入培养计划审核页面:学生提交培养计划后,导师登录管理信息系统,在首页“待办事宜”中,点击“培养计划”。

 

2批量撤销审核步骤:

第一步:点击页面左上角“审核状态”旁的下拉菜单,选择“导师审核”,点击查询,会出现导师审核通过的学生名单;

第二步:在页面左侧,勾选需要撤销审核的学生;

第三步:点击页面右上角“撤销审核”。

 

2)单个学生撤销审核:

第一步:点击页面左上角“审核状态”旁的下拉菜单,选择“导师审核”,点击查询,会出现导师审核通过的学生名单;

第二步:找到需要撤销审核的学生,点击该条学生记录最右端的“审核”按钮,进入后续页面操作。

 

第三步:点击“撤销审核”即完成。

 

 

3.2其他项目的撤销审核操作流程请参照3.1培养计划撤销审核操作流程。

上一条:湖南师范大学研究生绩点成绩单换算办法

下一条:研究生院位置图

关闭